Videonun Koronavirüs Aşısı Yapılırken Kaybolan İğneyi İçerdiği İddiası Doğru Değil
Geri Çekilebilir İğneye Sahip Enjektör Kullanılmış
Halk arasında koronavirüs salgınına (Covid-19) karşı geliştirilen aşı çalışmaları hakkında şüphe uyandırmak amacıyla manipüle edilen birçok içerik sosyal medyada paylaşılıyor. Bu içeriklerden biri koronavirüs aşısı yapıldığı algısıyla insanların kandırıldığı iddiasını içeriyor. Aşı karşıtı ya da koronavirüs salgınının gerçek olmadığına inanan sosyal medya kullanıcılarının aşı uygulamasına dair video kayıtlarda iğnenin kaybolduğunu ve bu nedenle aşının gerçek olmadığını iddia ettiği görülüyor.
“Kaybolan iğne #Covid_19” notuyla bu yönde bir videoyu içeren örnek paylaşım şu şekilde:

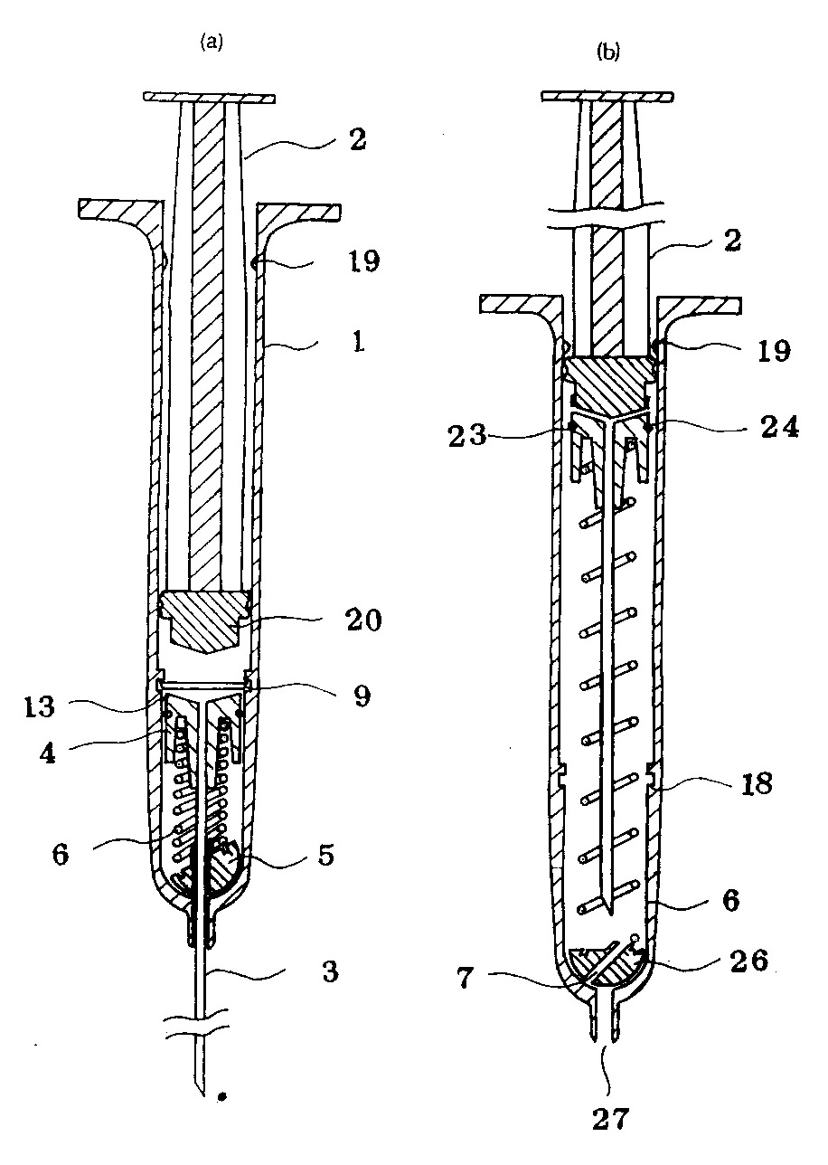
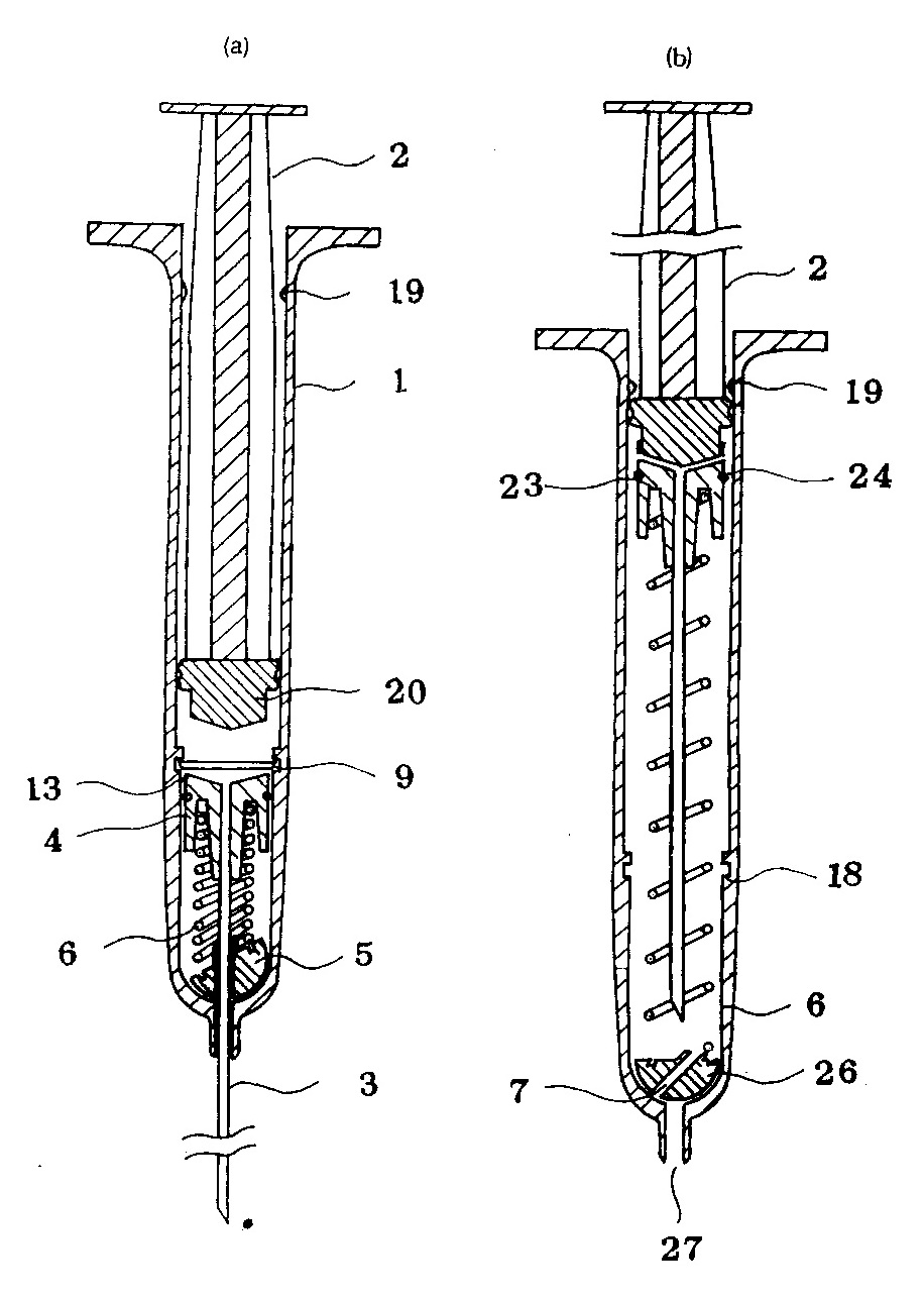
Bahse konu videoda aşı uygulamasının ardından enjektörün ucundaki iğnenin yok olduğu görülebiliyor. Ancak bu durum, enjektörün ya da aşı uygulamasının “sahte” olduğunu değil, geri çekilebilir güvenlik şırıngası kullanıldığını işaret ediyor.
Paylaşılan videoda kullanılan şırınga iğnenin geri çekilmesine izin veren özel bir yapıya sahip. Bu tür enjektörler “geri çekilebilir iğne güvenliği şırıngaları” (“retractable safety syringe”) olarak adlandırılıyor.
Kullanıldıktan sonra içinde sıvı kalmadığında enjektörün pistonuna yapılan ilave itiş şırınganın iğnesini güvenlik için içeri çekmektedir.
ABD Mesleki Güvenlik ve Sağlık İdaresi internet sitesinde yer alan geri çekilebilir iğnelerin nasıl çalıştığını açıklayan bir animasyon şu şekilde:
İğnesi kaybolan enjektörlerin çalışma mekanizması ve genel özellikleri şöyle özetlenebilir:
“İğne, enjeksiyon işleminin sonunda ve kas içindeyken, pistonun sonuna kadar bastırılmasıyla yaylı mekanizması sayesinde enjektörün içine otomatik olarak çekilir. Enjektörün güvenli geri çekme mekanizması piston içindedir ve tek elle kullanılabilir. Bu, kontaminasyon riskini azaltır ve iğne batmasına bağlı yaralanma riskini sıfıra indirir. İğne enjektörde sabittir, iğnesi değiştirilemez. Bu durum; kapalı sistem sağlar, sızıntı veya kontaminasyonu önler ve gereksiz iğne değişimlerini engeller. Enjeksiyon sonrasında iğne, silindir şeklindeki piston içine, piston da hazne içine hapsolduğundan ve geri çıkartılamadığından dolayı atık alanında da güvenliği sağlar ve tıbbi atık kutularında daha az yer kaplar. Tıbbi atık maliyetini 2/3 azaltır.”
Aşı karşıtı ya da septiklerinin iğnesinin yok olması nedeniyle sahte olarak nitelediği bu enjektörler koronavirüs aşılarının piyasaya sürülmesinden sonra ilk kez ortaya çıkmadı. Bu tür güvenlik şırıngaları uzun yıllardır kullanımda.
Geri çekilebilir iğneler, kan yoluyla bulaşan hastalıkların bulaşmasını azaltmanın bir yolu olarak Dünya Sağlık Örgütü tarafından tavsiye edilmektedir.
İğnesi geri çekilebilen şırıngaların çalışma mekanizmasını daha iyi kavramak adına kaydedilen yönlendirici video içeriklere de göz atılabilir.
Videonun orijinali aslında koronavirüs aşısıyla da ilgili değil. Video, Avustralya’nın Queensland eyaletinin başbakanı (premier) Annastacia Palaszczuk’a 2020 yılı Nisan ayında uygulanan grip aşısına ait.
Bahse konu videoya ilaveten sosyal medya kullanıcıları benzer videoları enjektör iğnelerinin vücuda girmiş gibi göründüğü; ancak iğnenin şırıngaya gömüldüğü iddiasıyla paylaşmıştı.
Aşı karşıtlarının enjektör iğnesinin vücuda batmadığı iddiasıyla sosyal medyada paylaştığı benzer videolara ilişkin Prof. Dr. Mustafa Cankurtaran “algı” ve “iftira” uyarısında bulunmuştu:
“Aşı karşıtları ve komplocular sosyal medyada saçma bir yöntem ile algı yapıyorlar.Faz3 çalışma enjektörleri belli, yöntemi belli, herkesin içinde yapılıyor, iğnenin tamamı kola giriyor. Yazık. Biz bilim dedikçe, çalışma dedikçe; bu güruh ne yazık ki iftiraya başlıyor. İnanmayın.”
Aşı karşıtları ve komplocular sosyal medyada saçma bir yöntem ile algı yapıyorlar.Faz3 çalışma enjektörleri belli, yöntemi belli, herkesin içinde yapılıyor, iğnenin tamamı kola giriyor. Yazık. Biz bilim dedikçe, çalışma dedikçe; bu güruh ne yazık ki iftiraya başlıyor.İnanmayın. pic.twitter.com/iRhWLMeEUn
— Prof.Dr.Mustafa Cankurtaran (@mustafacankur73) December 5, 2020
Özetle, videoda kanla bulaşan hastalıkların iğne yaralanmalarından bulaşmasını azaltmanın bir yolu olarak önerilen geri çekilebilir bir iğne kullanılmıştır. Yapılan aşılamanın koronavirüs aşısı ile de bir ilgisi bulunmamaktadır.









